高层民用建筑设计防火规范(2005修订版)
编号:GB50045-95(2005年版)7.4
室内消防给水管道、室内消防栓和消防水箱
7.4.1 室内消防给水系统应与生活、生产给水系统分开独立设置。室内消防给水管道应布置成环状。室内消防给水环状管网的进水管和区域高压或临时高压给水系统的引入管不应少于两根,当其中一根发生故障时,其余的进水管或引入管应能保证消防用水量和水压的要求。
7.4.2 消防竖管的布置,应保证同层相邻两个消火栓的水枪的充实水柱同时达到被保护范围内的任何部位。每根消防竖管的直径应按通过的流量经计算确定,但不应小于100mm。
以下情况,当设两根消防竖管有困难时,可设一根竖管,但必须采用双阀双出口型消火栓。
1 十八层及十八层以下的单元式住宅;
2
十八层及十八层以下、每层不超过8户、建筑面积不超过650m2的塔式住宅。
7.4.3 室内消火栓给水系统应与自动喷水灭火系统分开设置,有困难时,可合用消防泵,但在自动喷水灭火系统的报警阀前(沿水流方向)必须分开设置。
7.4.4 室内消防给水管道应采用阀门分成若干独立段。阀门的布置,应保证检修管道时关闭停用的竖管不超过一根。当竖管超过4根时,可关闭不相邻的两根。
裙房内消防给水管道的阀门布置可按现行的国家标准《建筑设计防火规范》的有关规定执行。
阀门应有明显的启闭标志。
7.4.5 室内消火栓给水系统和自动喷水灭火系统应设水泵接合器,并应符合下列规定:
7.4.5.1 水泵接合器的数量应按室内消防用水量经计算确定。每个水泵接合器的流量应按10~15L/s计算。
7.4.5.2 消防给水为竖向分区供水时,在消防车供水压力范围内的分区,应分别设置水泵接合器。
7.4.5.3 水泵接合器应设在室外便于消防车使用的地点,距室外消火栓或消防水池的距离宜为15~40m。
7.4.5.4 水泵接合器宜采用地上式;当采用地下式水泵接合器时,应有明显标志。
7.4.6 除无可燃物的设备层外,高层建筑和裙房的各层均应设室内消火栓,并应符合下列规定:
7.4.6.1 消火栓应设在走道、楼梯附近等明显易于取用的地点,消火栓的间距应保证同层任何部位有两个消火栓的水枪充实水柱同时到达。
7.4.6.2 消火栓的水枪充实水柱应通过水力计算确定,且建筑高度不超过100m的高层建筑不应小于10m;建筑高度超过100m的高层建筑不应小于13m。
7.4.6.3 消火栓的间距应由计算确定,且高层建筑不应大于30m,裙房不应大于50m。
7.4.6.4 消火栓栓口离地面高度宜为1.10,栓口出水方向宜向下或与设置消火栓的墙面相垂直。
7.4.6.5 消火栓栓口的静水压力不应大于1.00Mpa,当大于1.00Mpa时,应采取分区给水系统。消火栓栓口的出水压力大于0.5Mpa时,应采取减压措施。
7.4.6.6 消火栓应采用同一型号规格。消火栓的栓口直径应为65mm,水带长度不应超过25m,水枪喷嘴口径不应小于19mm。
7.4.6.7 临时高压给水系统的每个消火栓处应设直接启动消防水泵的按钮,并应设有保护按钮的设施。
7.4.6.8 消防电梯前室应设消火栓。
7.4.6.9 高层建筑的屋顶应设一个装有压力显示装置的检查用的消火栓,采暖地区可设在顶层出口处或水箱间内。
7.4.7 采用高压给水系统时,可不设高位消防水箱。当采用临时高压给水系统时,应设高位消防水箱,并应符合下列规定:
7.4.7.1 高位消防水箱的消防储水量,一类公共建筑不应小于18m3;二类公共建筑和一类居住建筑不应小于12m3;二类居住建筑不应小于6.00m3。
7.4.7.2 高位消防水箱的设置高度应保证最不利点消火栓静水压力。当建筑高度不超过100m时,高层建筑最不利点消火栓静水压力不应低于0.07Mpa;当建筑高度超过100m时,高层建筑最不利点消火栓静水压力不应低于0.15Mpa。当高位消防水箱不能满足上述静压要求时,应设增压设施。
7.4.7.3 并联给水方式的分区消防水箱容量应与高位消防水箱相同。
7.4.7.4 消防用水与其它用水合用的水箱,应采取确保消防用水不作他用的技术措施。
7.4.7.5 除串联消防给水系统外,发生火灾时由消防水泵供给的消防用水不应进入高位消防水箱。
7.4.8 设有高位消防水箱的消防给水系统,其增压设施应符合下列规定:
7.4.8.1 增压水泵的出水量,对消火栓给水系统不应大于5L/s;对自动喷水灭火系统不应大于1L/s。
7.4.8.2 气压水罐的调节水容量为450L。
7.4.9 消防卷盘的间距应保证有一股水流能到达室内地面任何部位,消防卷盘的安装高度应便于取用。
注:消防卷盘的栓口直径宜为25mm;配备胶带内径不小于19mm;消防卷盘喷嘴口径不小于6.00mm。
条文说明
7.4
室内消防给水管道、室内消防栓和消防水箱
7.4.1 本条基本保留原条文。高层民用建筑室内消防给水系统,由于水压与生活、生产给水系统有较大差别,消防给水系统中水体滞留变质对生活、生产给水系统也有不利影响,因此要求室内消防给水系统与生活、生产给水系统分开设置。
室内消防给水管道的布置更直接与消防供水的安全可靠性密切相关,因此要求布置成供水安全可靠性高的环状管网(如图13),以便在管网某段维修或发生故障时,仍能保证火场用水。室内环网有水平环网、垂直环网和立体环网,可根据建筑体型、消防给水管道和消火栓布置确定,但必须保证供水干管和每条消防竖管都能做到双向供水。

引入管是从室外给水管网接至建筑物,向建筑供水的管段。向室内环状消防给管道供水的引入管,其数量不应少于两条,当其中一条发生故障时,其余引入管仍能保证消防用水量和水压的要求。
7.4.2 本条基本保留原条文。本条对消防竖管的布置、竖管的口径和数量作出了规定。确定消防竖管的直径首先应根据每根竖管最小流量值通过计算确定。
一、高层建筑发生火灾时,除了着火层的消火栓出水扑救外,其相邻上下两层均应出水堵截,以防火势扩大。因此,一根消防竖管上的上下相邻的消火栓,应能同时接出数支水枪灭火。为保证水枪的用水量,消防竖管的直径应按本规范第7.2.2条规定的流量计算。
竖管最小管径的规定是基于利用水泵接合器补充室内消防用水的需要,国外也有类似的规定,如波兰规定不小于80mm,日本规定消防队专用竖管不小于150mm,我国规定消防竖管的最小管径不应小于100mm。
二、考虑到高度在50m以下,每层住户不多和建筑面积不太大的普通塔式住宅,消防竖管往往布置在唯一的公用面积——电梯和楼梯间的小厅处,此时设置两条消防竖管确有困难,容许只设一条竖管。但由于消火栓室内消防用水量和每根消防竖管最小流量仍需保证10L/s,因此只能采用双阀双口消火栓来解决。禁止采用难以保证两支水枪同时有效使用的单阀双口消火栓。
7.4.3 基本保留原条文的内容。
一、室内消防给水系统分室内消火栓给水系统和自动喷水灭火系统两类,两类系统可以有以下几种组合形式:
1.安全独立设置,这种作法较多,可靠性好。
2.消防泵合用,在报警阀后管网分开,实际作法较少。
3.系统(包括消防泵、管网)完全合并。不太好,不宜采用。
二、由于两种消防给水系统的作用时间不同(室内消火栓使用延续时间为3h,自动喷水灭火装置为1h);压力要求不同(室内消火栓压力一般在200KPa,自动喷水灭火系统喷头处工作压力一般为100KPa、最不利点处允许降至50KPa);水质要求不同(消火栓系统对水质要求不甚严格,自动喷水灭火系统由于喷头孔较小,容易堵塞,要求水质较好),因此推荐室内消火栓给水系统与自动喷水灭火系统分开独立设置。独立设置还可防止消火栓用水影响自动喷水灭火系统用水,或因消火栓漏水而引起的误报警。如室内消火栓给水系统与自动喷水灭火系统共用消防泵房和消防泵时,为防止自动喷水灭火系统和室内消火栓用水相互影响,需将自动喷水灭火系统管网和消火栓给水系统管网分开设置。若分开设置有困难时,至少应将自动喷水系统的报警阀前(沿水流方向)的管网与消火栓给水管网分闸设置,即报警阀前不得设置消火栓。
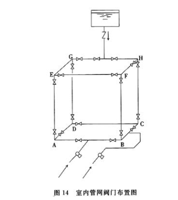
7.4.4 为使室内消防给水管网在任何情况下都保证火场用水,应用阀门将室内环状管网分成若干独立段。阀门的布置要求高层主体建筑检修管道或检修阀门时,关闭的竖管不超过一条(当竖管为4条及4条以上时,可关闭不相邻的两条),如图14所示。

与高层主体建筑相连的附属建筑,性质和多层建筑相似,阀门的布置按《建规》的有关规定执行。
室内消防管道上的阀门,应处于常开状态,当管段或阀门检修时,可以关闭相应的阀门。为防止检修后忘开阀门,要求阀门设有明显的启闭标志(例如采用明杆阀门),以便检查,及时开启阀门,保证管网水流畅通。
7.4.5 本条是对原条文的修改。本条对水泵接合器的设置、数量、布置、形式等作出了规定。
一、水泵接合器的主要用途,是当室内消防水泵发生故障或遇大火室内消防用水不足时,供消防车从室外消火栓取水,通过水泵接合器将水送到室内消防给水管网,供灭火使用。因此室内消火栓给水系统和自动喷火灭火系统,均应分别设水泵接合器。
二、消防水泵接合器的数量应根据本规范第7.2.1条、第7.2.2条和第7.2.4条规定的室内消防用水量确定。因为一个水泵接合器由一台消防车供水,则消防车的流量即为水泵接合器的流量,故每个水泵接合器的流量为10~15L/s。
高层民用建筑内部给水一般采用竖向分区给水方式,分区时各分区消防给水管网各自独立,因此在消防车供水压力范围内的每个分区均需分别设置水泵接合器。只有采用串联给水方式时,上区用水从下区水箱抽水供给,可仅在下区设水泵接合器,供全楼使用。水泵接合器应与室内环网连接,连接应尽量远离固定消防水泵出水管与室内管网的接点。
三、水泵接合器由消防水泵从室外消火栓通过它向室内消防给水管网送水,其设置位置应考虑,连接消防车水泵的方便,即设置水泵接合器的地点:
1.设在室外。
2.便于消防车使用。
3.不妨碍交通。
4.与建筑物外墙应有一定距离,目前规定离水源(室外消火栓或消防水池)不宜过远。
5.水泵接合器间距要考虑停放消防车的位置和消防车转弯半径的需要。
四、水泵接合器的种类有地上式、地下式和墙壁式三种,地上式栓身与接口高出地面,目标显著,使用方便,规范推荐采用。地下式安装在路面下,不占地方,特别适用于寒冷地区和有美观要求的地点。墙壁式安装在建筑物墙根处,墙面上只露两个接口的装饰标牌。各种类型的水泵接合器,其外型不应与消火栓相同,以免误用,而影响火灾的及时扑救。地下式水泵接合器的井盖与消火栓井盖亦应有所区别。特别要注意水泵接合器设置位置,不致由于建筑物上部掉东西而影响供水和人员安全。
水泵接合器的附件有止回阀、安全阀、闸阀的泄水阀等。止回阀用于室内消防给水管网压力过高,保障系统的安全。水泵接合器在工作时与室内消防给水管网沟通,因此,其工作压力应能满足室内消防给水管网的分区压力要求。
7.4.6 室内消火栓的合理设置直接关系到扑救火灾的效果。因此,高层建筑的各层包括和主体建筑相连的附属建筑各层,均应合理设置室内消火栓。以保证建筑物任何部位着火时,都能及时控制和扑救。据了解,有些高层住宅,仅在六层以上的消防竖管上设消火栓,这样做很不妥当。因为若六层以下的任一层着火,如不设消火栓,就不便迅速扑灭火灾;设了消火栓,就方便居民或消防队灭火时使用,可以起到快出水、早灭火的作用,而增加的投资是很少的,故规定在各层均应设消火栓。本条对消火栓还提出了以下具体要求:
一、消火栓的水压应保证水枪有一定长度的充实水柱。对充实水柱的长度要求,是根据消防实践经验确定的。我国扑救低层建筑火灾时,水枪的充实水柱长度一般在10~17m之间。火场实践证明,当口径19mm水枪的充实水柱长度小于10m时,由于火场烟雾大,辐射热高,扑救火灾有一定困难。当充实水柱长度增大时,水枪的反作用力也随之增大,如表15所示。经过训练的消防队员能承受的水枪最大反作用力不应超过20kg,一般不宜超过15kg。火场常用的充实水柱长度一般在10~15m。为节约投资和满足火场灭火的基本要求,规定消火栓的水枪充实水柱长度首先应通过水力计算确定,同时又规定建筑高度不超过100m的高层建筑的充实水柱的下限值不应小于10m。
水枪的充实水柱长度可按下式计算:

二、消火栓的布置。规定消火栓应设在明显易于取用的地方,以便于用户和消防队及时找到和使用。消火栓应有明显的红色标志,且应标注“消火栓”的字样,不应隐蔽和伪装。
消火栓的出水方向应便于操作,并创造较好的水力条件,故规定消火栓出水方向宜与设置消火栓的墙面成90度角。栓口离地面高度宜为1.10m,便于操作。
关于消火栓的布置,最重要的是保证建筑物同层任何部位都有两个消火栓的水枪充实水柱同时到达。其原因是:初期火灾能否被及时地有效地控制和扑灭,关系到起火建筑物内人身和财产的安危。而火场供水实践说明,扑救初期火灾的水枪数量极为重要。统计资料表明,一支水枪扑救初期火灾的控制率仅40%左右,两支水枪扑救初期火灾的控制率达65%左右。因此,扑救初期火灾使用水枪数量不应小于两支。为及时控制和扑灭火灾,同层任何部分都应有两个消火栓的水枪充实水柱能够同时到达,以保证在正常情况下有两支水枪进行扑救,在不利情况下,也就是当其中一支水枪发生故障时,仍有一支水枪扑救初期火灾。同层消火栓的布置示意如图15所示。

消火栓的设置数量和位置,应结合建筑物各层平面图布局。图15只是一个例子,消火栓的保护半径R,也没有考虑房间的分隔情况。
对消火栓间距,规范还以不应大于30m的规定来控制和保证两支水枪充实水柱同时到达被保护部位。
三、消火栓栓口压力。火场实践说明,水枪的水压太大,一人难以握紧使用。同时水枪的流量也远远超过5L/s,水箱内的消防用水可能在较短的时间内被用完,对扑救初期火灾极为不利。故本条规定消火栓的静水压力不应超过0.80MPa(日本规定不超过0.70MPa,原苏联规定不超过0.90MPa)。当静水压超过0.80MPa时,应采用分区给水。而当栓口出水压力大于0.50MPa时,应设减压装置,减压装置一般采用减压孔板或减压阀,减压后消火栓处压力应仍能满足水枪充实水柱要求。
四、室内消火栓规格。室内消火栓是用户和消防人员灭火的主要工具。室内消火栓口直径应与消防队通用的直径为65mm的水带配套,故室内消火栓所配备的栓口直径应为65mm。
在一幢建筑物内,如消火栓栓口、水带和水枪因规格、型号不一致,就无法配套使用,因此要求主体建筑和与主体建筑相连的附属建筑采用同一型号、规格的消火栓和与其配套的水带及水枪。
火场实践说明,室内消火栓配备的水带长度过长,不便于扑救室内初期火灾。消防队使用的水带长度一般为20m,为节约投资同时考虑火场操作的可能性,要求室内消火栓所配备的水带长度不应超过25m。
为适应扑救大火的需要,应采用较大口径的水枪,同时与消防队经常使用的水枪配合,以便火场使用,故规定室内消火栓配备水枪的喷嘴口径不应小于19mm。
五、为及时启动消防水泵,在水箱内的消防用水尚未用完以前,消防水泵应进入正常运转。故本条规定在高层建筑物内每个消火栓处均应设置启动消防水泵的按钮,以便迅速远距离启动。为防止小孩玩弄或误启动,要求按钮应有保护设施,一般可放在消火栓箱内或带有玻璃的壁龛内。
六、消防电梯是消防人员进入高层建筑物内进行扑救的重要设施,为便于消防人员尽快使用消火栓扑救火灾并开辟通路,故规定在消防电梯间前室设有消火栓。
七、屋顶消火栓供本单位和消防队定期检查室内消火栓给水系统使用,一般设一个。
避难层、屋顶直升机停机坪及其它重要部位需设置消火栓的规定,详见本规范有关条文。
7.4.7 本条对原条文作了修改。
一、消防水箱的主要作用是供给高层建筑初期火灾时的消防用水水量,并保证相应的水压要求。对高压消防给水系统的高层建筑,如经常能保证室内最不利点消火栓和自动喷水灭火设备的水量和水压时,可以不设消防水箱。而对临时高压给水系统(独立设置或区域集中)的高层建筑物,均应设置消防水箱。
消防水箱指屋顶消防水箱,也包括垂直分区采用并联给水方式的各分区减压水箱。
二、我国早期的高层建筑物中水箱容量较大,一般在30~50m3左右,新建的广州白云宾馆水箱容量为210m3,广州宾馆的屋顶水箱容量为250m3。水箱容量太大,在建筑设计中有时处理比较困难,但若水箱容量太小,又势必影响初期火灾的扑救;水箱压力的高低对于扑救建筑物顶层或附近几层的火灾关系也很大,压力低可能出不了水或达不到要求的充实水柱,影响灭火效率。因此,本条对水箱容积、压力等作了必要的规定。
三、消防水箱的消防储水量。根据区别对待的原则,对不同性质的建筑规定了消防水箱的不同容量,住宅小些,公共建筑大些;当消火栓给水系统和自动喷水灭火系统分设水箱时,水箱容积应按系统分别保证。
一类建筑(住宅除外)的消防水箱,当不能满足最不利点消火栓静水压力0.07MPa(建筑高度超过100m的高层建筑,静水压力不应低于0.15MPa)时,要设增压设施,增压设施可采用气压水罐或稳压泵。这些产品必须采用国家检测部门检测合格的产品,以满足最不利点的水压要求。
四、为防止消防水箱内的水因长期不用而变质,并作到经济合理,故提出消防用水与其它用水共用水箱,但共用水箱要有消防用水不作他用的技术措施(技术措施可参考消防水池不作他用的办法),以确保及时供应必需的灭火用水量。
五、据调查,有的高层建筑水箱采用消防管道进水或消防泵启动后消防用水经水箱再流入消防管网,这样不能保证消防设备的水压,充分发挥消防设备的作用。为此,应通过生活或其它给水管道向水箱供水,并在水箱的消防出水管上安装止回阀,以阻止消防水泵启动后消防用水进入水箱。
消防水箱也可以分成两格或设置两个,以便检修时仍能保证消防用水的供应。
7.4.8 本条对增压设施作出具体规定。设置增压设施的目的主要是在火灾初起时,消防水泵启动前,满足消火栓和自动喷水灭火系统的水压要求。对增压水泵,其出水量应满足一个消火栓用水量或一个自动喷水灭火系统喷头的用水量。对气压给水设备的气压水罐其调节水容量为两支水枪和5个喷头30s的用水量,即2×5×30+5×1×30=450L。
7.4.9 消防卷盘,用于扑灭在普通消火栓正式使用前的初期火灾,因此只要求室内地面任何部位有一股水流能够到达,而不要求到达室内任何部位,其安装高度应便于取用。